Ook voor het Grootste onderdelen magazijn bent u bij ons aan het juiste adres.
We kunnen : "bijna" elk onderdeel, motor, sturing. ed. voor uw automatisering leveren.
Ons magazijn heeft ook bijna alles op voorraad, zelfs van motoren welke al jaren niet meer gemaakt worden. En mocht het onderdeel echt niet meer te leveren zijn, dan hebben we altijd een alternatief voor u.
Voor sommige onderdelen: niet op voorraad, en welke in opdracht worden gemaakt =meestal 4 weken levertijd.
Onderdelen staan Alfabetisch op merknaam.
Staat het onderdeel niet hieronder, Mail uw vraag mbt het onderdeel naar: info@poort-automatisering.nl
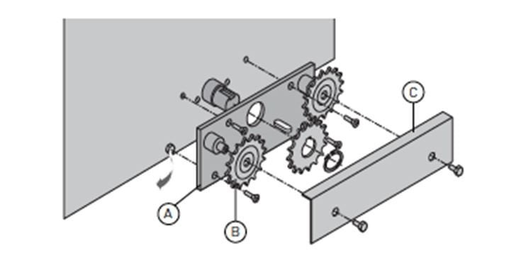
ombouwset voor ditec cross 18, van magneet-schakelaars naar interne loop-klok. 0Y14GF en 6CSAFR (HO)ombouwset van magneetschakelaars naar interne loopklok, noodzakelijk voor diverse heras poorten.
Daarvoor heeft u 2 artikelen nodig:
0Y14GF en 6CSAFR
Dit zijn de artikelen nummer 9 en 10 uit de afbeelding:
soms kunnen deā¦ā¬ 127,95
Quiko 1x 25mm stalen kogel voor sub ondergronds (QU)1x 25mm stalen kogel voor sub ondergronds
⬠9,95
DITEC 1x beugelset tbv de Ditec PWR35 art. 6PWR35SF (HO)1x beugelset tbv de Ditec PWR35 art. 6PWR35SF
⬠54,00
2x Quiko Hydro 400 losse motoren met kappen (QU)2x Quiko Hydro 400 losse motoren met kappen
⬠1.059,95
CAME frog vervangen door Quiko Sub motoren. (QU)Came Frog voor Quiko SUB. 100% vervangbaar, zonder boren oid. Alleen de rond 20mm pen van came wegslijpen, quiko SUB heeft eigen pen daar, met borgring.=beter.
(De pen bij het zwarte gedeelte ).⬠385,95
Ditec 2 stuks eindkap voor ditec Luxo 3,4,5 6LUXC (pos 10 op tekening) (HO)eindkap voor ditec; Luxo 3,4,5 leveretijd=2-3 weken.
⬠42,95
Ditec 2x eindkap Voor de Luxo 5VBH (motor met borstels onder de spindel) (pos 10 op tekening) (HO)2x eindkap Voor de Luxo 5VBH (motor met borstels onder de spindel) (pos 10 op tekening)
⬠42,95
Ditec artikel 6LUXC1 2x eindkap Voor de Ditec PWR motoren (HO)2x eindkap Voor de Ditec PWR motoren
18,- per stuk en 6,95 verzenden⬠42,95
Ditec magneet reader/ schakelaar voor de ditec cross18ve artikel 6CS14FM (HO)magneet reader voor de cross18ve
artikel 6CS14FM .⬠132,95
Ditec 1x 6CB6CBP losse deksel voor DITEC cubic6 (HO)Ditec 1x 6CB6CBP losse deksel voor DITEC cubic6
⬠81,95
Ditec 1x losse arm voor Ditec Facil. FACILBA (HO)1x losse arm voor Ditec Facil. FACILBA
zowel links als rechts te gebruiken.⬠154,00
Ditec 6PWR25M draadbus voor pwr25H (HO)Ter vervanging van versleten draadbussen, set incl. moer.
Voor reparatie van 1 motor.⬠68,95
Ditec 6PWR35M draadbus voor pwr35H (HO)Ter vervanging van versleten draadbussen, set incl. moer.
Voor reparatie van 1 motor.⬠68,95
Ditec 6PWRFB eindafslag van Power, kit van 2 stuks. (HO)Ditec 6PWRFB eindafslag van Power, kit van 2 stuks.
⬠48,00
Ditec Arc 1BH, 1x losse knikarm motor. met arm, 24V, tot 5 meter vleugellengte. Voor intensief gebruik. (HO)1x losse, Ditec Arc 1BH , knikarm motor. met arm, 24V, tot 5 meter vleugellengte. Voor intensief gebruik.
⬠599,00
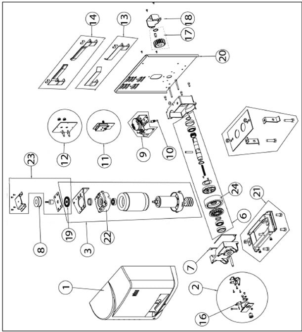
DITEC ARC. Nr. 8 is artikel 6BOXAS āsecondary shaft group ARC (HO)DITEC ARC. Nr. 8 is artikel 6BOXAS āsecondary shaft group ARCā
⬠156,95
Ditec Arc. 1x losse arm. zowel links als rechts te gebruiken. (HO)Ditec Arc. 1x losse arm. zowel links als rechts te gebruiken.
⬠95,95

ditec cross 18 antraciet bekapping. (HO)dit is de behuizing / bekapping voor de cross 18 motor van ditec.
exlusief slot.⬠146,95
ditec cross 18 kettingwiel. CROSSTC (HO)ditec cross 18 kettingwiel. CROSSTCideaal voor dekken en zwembad overkappingen
⬠307,00
Ditec cross 18 slot en micro-switch revisie set. (HO)Ditec cross 18 slot en micro-switch revisie set.
⬠79,95
ditec cross 18 micro-swichen. 6CS14FL (HO)interne afslag schakelaars voor ditec cross 18, zonder interne klok
⬠109,95
DITEC CROSS 18-19 onderdelen, Nummer 3; artikel 6CS18M āmotor CROSS18-18E-18VE (HO)Nummer 3; artikel 6CS18M āmotor CROSS14/E/VE-18-18E-18VE' netto ā¬550,- excl. BTW
⬠550,00
DITEC CROSS 18-19 onderdelen, Nummer 6; artikel 6CS14AP (HO)Nummer 6; artikel 6CS14AP 'complete gear shaft group' netto ā¬217,50 excl. BTW
⬠217,50

Ditec cubic 30. 230v motor. (motor en vertragingsbak) (HO)De Ditec cubic 30 is het oudere type van Ditec.
230v motor. levertijd ongeveer 4 weken.
--------------------------------------------------------------------------------------------------
The current model is the Ditec Cubicā¦ā¬ 840,00
DITEC CUBIC 6 ontkoppeling en overbrenging set met vergrendeling-slot (HO)DITEC CUBIC 6 ontkoppeling en overbrenging set met slot.
CUBIC6L laslip/overbrenging en CUBIC6SBL ontkoppeling.
ter vervanging van versleten ontkoppeling.⬠389,95

Ditec CUBIC30LP complete set overbrenging met ontkoppeling voor ditec CUBIC30 (HO)CUBIC30LP complete set overbrenging met ontkoppeling voor ditec CUBIC30
⬠449,00

DITEC ENCODER voor CROSS 3E 5EH 7EH GLOBE LINE OVER - 61EOUB (HO)DITEC ENCODER voor CROSS 3E 5EH 7EH GLOBE LINE OVER - 61EOUB
⬠91,00
DITEC Entrematic Onderdelen voor , luxo, edWe kunnen bijna elk onderdeel van: Quiko, Proteco, DITEC Entrematic, Roger, ed leveren.
TIP: Maak een foto van het onderdeel en geef het merk/ type door.
en mail deze naar info@poort-automatisering.nl.
Ditec entrematic ION 4-6 transformator 6IONT6 230v (HO)Het gaat dan om product nr. 7 uit de tekening.
Voor de 230V variant is het art. 6IONT6⬠167,00
Ditec entrematic printplaat 48E (HO)Losse printplaat voor DITEC snelloopdeuren.
levertijd =3 weken⬠993,00
Ditec entrematix 6LUX3 tandwielset revisieset. (HO)Ditec entrematix 6LUX3 tandwielset revisieset.
levertijd=4 weken⬠125,00
ditec globe 7 licht-kap (HO)losse licht kap voor ditec globe 7, dus niet de gehele bekapping.
⬠74,00
ditec globe garagedeur opener loopgedeelte. 6GLOBEGC (HO)Nieuw loopgedeelte voor de oude Ditec globe garagedeur openers.
artikel 6GLOBEGC⬠114,00
Ditec globe losse motor (HO)Ditec globe losse motorVoor Globe met ketting aandrijving: 6GB7MR gearmotor GLOBE7 for chain transmission
netto ā¬269,70
Voor Globe met riem aandrijving: 6GB7VMR gearmotor GLOBE7 for belt transmission
netto ā¬269,70
Graagā¦ā¬ 269,95
Ditec Ketting voor Ditec CUBIC 6-6V-6H-6HV artikel 6CB6C (HO)Ketting voor Ditec CUBIC 6-6V-6H-6HV artikel 6CB6CAT.
ter vervanging van defecte kettingen.⬠149,95
Ditec Ketting voor Ditec versterkte versie CUBIC 6-6V-6H-6HV artikel RS712 (HO)Ketting voor Ditec CUBIC 6-6V-6H-6HV artikel RS712
ter vervanging van defecte kettingen.⬠169,00
Deskundig advies
Grootste assortiment
Al 39 jaar
Laagste prijs Garantie
Elk merk op voorraad:

Merken



